

400-6171-3551、产品简介:
测径仪内置3台工业相机,热轧时利用锚杆、螺纹钢的自发光从不同角度拍图像,冷轧时利用背光拍摄清晰图像。可以测量轧材的内径、外径、肋高、节距等特征尺寸。
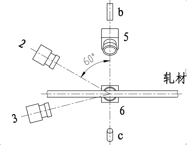
2、测量原理

3、设备组成

4、功能描述:
* 测量特征值:锚杆钢内径d0、锚杆钢外径d1;锚杆钢对角尺寸d2、d3;螺距p、两面横肋相对偏移尺寸p/2;
* 产品参数设置:可设置产品规格、正负公差等参数;
* 系统参数设置:可设置故障通道、通信端口、热膨胀系数等;
* 数据存储:数据记录,存储时间大于1年;历史数据查询,可查询某一时刻的尺寸,时间精确到秒;
* 报警设置:可设置超差、超温报警的形式和阈值;
* 修正功能:自动/手动,输入热膨胀系数后校准;
* 超差报警:主控室相关数据颜色警示及蜂鸣器声音报警;现场LED显示屏数据颜色及状态显示报警;
* 超温报警:测量车内设置温度传感器,当车内温度超过相机使用温度范围时,主控室报警灯发光报警;现场LED显示屏状态显示报警;
5、应用范围
设备主要用于热轧锚杆钢、螺纹钢生产线的在线尺寸检测。
6、技术参数:
型号 | 测量范围 (mm) | 轧材直径 (mm) | 测量精度 (mm) | 重复性 (mm) | 测量频率 (帧/秒) | 尺寸 L×W×H | 重量(KG) |
JX03-DG35 | 0-35 | 6-25 | ±0.06 | 0.02 | 50 | 1500×800×1250 | 200 |
JX03-DG50 | 0-50 | 6-40 | ±0.06 | 0.02 | 25 | 1500×800×1250 | 240 |